Nutzentrenner
MAESTRO 4X
für hohe Bauteile
Schnell, wirtschaftlich und stressfrei werden sowohl kleine als auch große Leiterplatten mit dem MAESTRO 4X getrennt.
Wichtigste Merkmale:
- Der Messerabstand wird am Bedienfeld eingegeben und motorisch eingestellt.
- Es können bis zu neun Programme gespeichert werden.
- Die Trennlänge wird stufenlos über Endschalter eingestellt.
- Zur vorbeugenden Wartung der Messer wird die Schnittleistung angezeigt.
Beim einmaligen Überfahren der Ritznut können durch Zug- und Druckspannungen empfindliche Bauteile, die nahe an der Ritznut angeordnet sind, beschädigt werden. Bereits das zweimalige Überfahren der Ritznut bei motorischem Nachstellen des Messerabstandes minimiert die Spannungen erheblich. Die Qualität der bestückten Leiterplatten wird wesentlich verbessert.
|
Bauteilhöhe
Vergrößerung der Außenmaße |
![]() |
|
|
Die Ritznut kann durch Ausfräsungen unterbrochen sein |
||
|
Bei überstehenden Bauteilen muss das Linearmesser ausgespart werden. |
![]() |
|
| Technische Daten | 4X/450 | 4X/600 |
|---|---|---|
| Trennprinzip | Bestückungsseite: Rollmesser Lötseite: Linearmesser |
|
| Trennvorgang | wegoptimiert , Motorantrieb | |
| Trenngeschwindigkeit | 300, 500 mm/s, umschaltbar | |
| Materialien | FR4, Aluminium | |
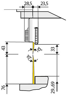
| Bauteilehöhe | Bestückungs-/Lötseite bis 76 mm | |
| Trennlänge | bis 450 mm | bis 600 mm |
| Ablagetisch Tiefe | 690 mm | |
| Programmierung | ||
| Start | Fahrt auf Startposition | |
| Programme | 9 | |
| Trennschritte | 1 - 5 | |
| Messerabstand | 0,9 mm - 0,05 mm | |
| Schlüsseltaste | Programmwahl entriegeln | |
| Anzeige Schnittleistung | bis 99 km | |
| DEL | Rücksetzen der Schritte | |
| Netzschalter | EIN/AUS | |
| Fußschalter | START Trennvorgang | |
| Sicherheitsschalter | Not-Halt | |
| Spannung | 100 - 240 VAC, 50/60 Hz | |
| Emmissionsschalldruckpegel | LpA <70 dB (A) | |
| Temperatur / Luftfeuchtigkeit Betrieb Temperatur / Luftfeuchtigkeit Lager Temperatur / Luftfeuchtigkeit Transport |
+ 10 - 35°C / 10 - 85 % nicht kondensierend 0 - 60°C / 20 - 80 % nicht kondensierend – 25 - 60°C / 20 - 80 % nicht kondensierend |
|
| Breite x Höhe x Tiefe | 702 x 434 x 425 mm | 852 x 434 x 425 mm |
| Gewicht | 37 kg | 45 kg |
| Zulassungen | CE, FCC Class A | |
Weitere technische Daten siehe Katalog: Geräte und Systeme für die Elektronikfertigung (PDF)
Dokumentation
-
Kataloge
-
Titel Format Version zuletzt geändert Sprache Produkte für die Elektronik
Nutzentrenner und LeiterplattenmagazinePDF - 3.50 MB 03/2026 30.03.2026 Deutsch
-
Zum Ansehen der PDF-Dateien benötigen Sie den Adobe® Reader®. Adobe® Reader® herunterladen




